聯系我們
銷售熱線:137-9166-1766
電話:0536-3660707
傳真:0536-3661616
郵箱:wfboyou@163.com
地址:山東省濰坊市臨朐縣冶源街道安達山工業園1788號
RCDB干式電磁除鐵器

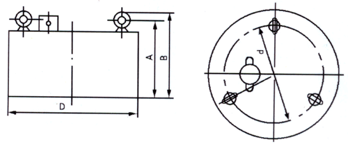
RCDB系列干式電磁除鐵器(亦稱PDC系列盤式、RCDY系列)是一種用于清除粉狀或塊狀非磁性物料中雜鐵的除鐵裝置。其內部采用電工專用樹脂澆注,自冷式全密封結構。具有透磁深度大、吸力強、防塵、防雨、耐腐蝕等特點,在極其惡劣的環境中仍能可靠運行??膳cCF、CFL系列懸掛式電磁除鐵器通用。
其主要性能指標均達到或高于JB/T7689-2004標準要求,該產品可除去混雜在非磁性物料中0.1~35公斤的鐵磁性物質。

- 項目適應帶寬
mm額定吊高h
mm磁場強度
≥mT物料厚度
≤mm勵磁功率
≤kw適應帶速
≤m/s重量
kg外型尺寸mm參數型號ABDфdфRCDB-33007550500.44.5185210250400280RCDB-440010050700.6300240280500400RCDB-550015060901430280325610450RCDB-6600175601201.6580280325710500RCDB-6.5650200701502680280325816640RCDB-8800250702003.6950310355960780RCDB-10100030070250515203103601200920RCDB-121200350703006.8225031036514001000RCDB-141400400703509295040548516501400RCDB-1616004507040013480046054019001650RCDB-1818005007045018690053061021501800




